Neopěvovaný hrdina skladu: Hluboký ponor do technologie ložisek vysokozdvižný...
NABÍZET
Skladový kód: 920002
● Materiály a tepelné zpracování pro ložiskový kroužek stožáru vysokozdvižného vozíku
Výběr materiálů pro ložiskové kroužky stožáru (včetně hřídelí) je založen na různých zatíženích a konstrukcích nesených díly ložiskových kroužků. Obecně se pro výrobu volí ložisková ocel, vysoce kvalitní uhlíková konstrukční ocel, nauhličená ocel a další materiály. K získání mechanických vlastností částí ložiskových kroužků se používají různé procesy tepelného zpracování.
● Zatížení a konstrukce ložiska stožáru vysokozdvižného vozíku
U ložisek stožárů je velikost zatížení prvním faktorem, který je třeba vzít v úvahu při výběru ložisek. Při stejných celkových rozměrech ložisek je únosnost válečkové konstrukce největší, následovaná dvojnásobnou. -řadá kulová konstrukce a únosnost jednořadé kulové konstrukce je relativně malá. Mezi ložisky tohoto typu konstrukce je únosnost celokulové (nebo válečkové) konstrukce větší než u ložiska s klecí. Za předpokladu dostatečné nosnosti lze upřednostnit standardní jednořadou kulovou konstrukci.
● Rozdíly mezi ložisky stožáru vysokozdvižného vozíku a jinými standardními ložisky
Ložiska stožáru se ve srovnání s jinými standardními ložisky vyznačují především tím, že vnitřní kroužek je vůči hřídeli nehybný a vnější kroužek se otáčí a vratně se pohybuje podle určitého pravidla (čas nebo zdvih), přičemž během pohybu nese neustále se měnící zatížení.
● Rozdíly mezi ložiskem stožáru vysokozdvižného vozíku a jinými standardními ložisky v pohybu
Během pohybu se vnější kroužek ložiska stožáru opakovaně otírá o povrch dráhy a neustále se opotřebovává. Podle různých materiálů dráhy musí být přiměřeně určena povrchová tvrdost ložiska a je třeba vzít v úvahu ochranu dráhy i životnost ložiska.
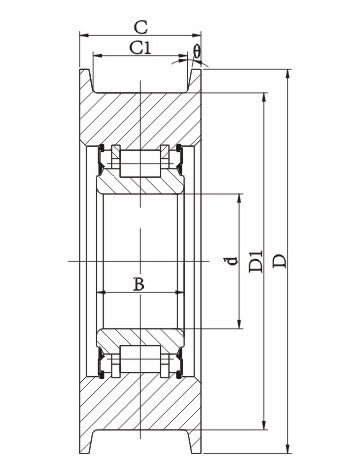
| Ložisko č | Rozměry (mm) | Základní nosnost (KN) | Ref. Žádný. | |
| d*D*C/B | Cr | Cor | ||
| CG25R1-2 | 25*117/104*46,5/32,5*48,5 | 85.35 | 110 | D581987 |
| CG25R1-3 | 25*108/90*46,5/32,5*48,5 | 85.35 | 110 | W-A216341 |
| CG30R1-1 | 30*73/65*27/20,5*28 | 50 | 62 | |
| CG30R1-2 | 30*77/65*34/22*26 | 57.8 | 72.8 | 780606K2 |
| CG30R1-3 | 30*90/80*36/27*19 | 48 | 50 | CWR306A |
| CG35R1-14M1 | 35*112/102*47/39,4*49 | 115.2 | 143 | 176014 |
| CG35R1-15M1 | 35*120/112*47/39,4*49 | 115.2 | 143 | |
| CG35R1-16M11 | 35*79/70*26/20*20 | 44.5 | 65.79 | |
| CG35R1-25M1 | 35*114,3/98,8*56/47*58 | 160 | 284 | |
| CG35R1-27M1 | 35*88/80*27/23*28 | 88 | 95 | |
| CG35R1-28 | 35*90/62*28,35/4*21,7 | 45.9 | 60.6 | |
| CG38.1R1-3A | 38,1*190,5/177,8*50,8/42*50,8 | 164.6 | 239.1 | |
| CG38.1R1-4A | 38,1*155,5/143*50,8/42*38 | 164.6 | 239.1 | |
| CG38.1R1-5 | 38,1*165/152*50,8/42*50,8 | 164.6 | 239.1 | |
| CG40R1-8A | 40*108/94*33,2/25*23 | 52.8 | 63.6 | MRCH28-4-2RS |
| CG40R1-9 | 40*111/101*36/27*26 | 58.3 | 79.9 | |
| CG40R1-12A | 40*107,95/95*33,32/25,4*23 | 52.8 | 63.6 | 1692093 |
| CG40R1-18 | 40*95,3/85*34,5/27*30 | 76.2 | 102 | MRCH28-5-2RS |
| CG40R1-19 | 40*100/85*36/26*38 | 122.1 | 186.1 | MK30086 |
| CG40R1-30A | 40*124/104*43/30*30 | 83.8 | 16.4 | |
| CG40R1-34A | 40*100/82*36/25*26 | 58.3 | 79.9 | |
| CG40R1-35 | 40*108/90*36/25*26 | 58.3 | 79.9 | 08N1084 |
| CG40R1-37A | 40*100/84*36/27*26 | 58.3 | 79.9 | |
| CG40R1-43 | 40*93180*26/20*20 | 51.3 | 74.7 | |
| CG40R1-44 | 40*139/127*50,8/42*38 | 125 | 156 | 35112-B |
| CG40R1-48 | 40*103,12/90,93*50,8/41,91*38 | 100 | 26 | CWR5308A |
| CG40R1-51 | 40*107,8/95,4*36,6/28,5*23 | 52.8 | 63.6 | CGM308C |
| CG40R1-53 | 40*92/82*36/26*26 | 58.3 | 79.9 | SC080936/26V |
| CG45R1-1A | 45*150/128*69/50*50,8 | 174 | 230 | CWR309N |
| CG45R1-2A | 45*174/151*72/51*50,8 | 174 | 230 | MRCH39-1A, 362352 |
| CG45R1-3 | 45*174/150*72/50*51 | 174 | 230 | CGM5214 |
| CG45R1-4 | 45*150/129*69/50*51 | 174 | 230 | MRCH39-1, 1423 |
| CG45R1-5 | 45*136/127*38/31*40 | 150.1 | 275.8 | MK4100 |
| CG45R1-6M1 | 45*123/95*60/45*65 | 160 | 284.5 | |
| CG45R1-7M1 | 45*152,4/129,2*67156*69 | 253 | 397 | |
| CG45R1-8M11 | 45*94/80*34/27*17,2 | 45 | 85.3 | |
| CG45R1-9 | 45*150/128*69/51*50 | 174 | 230 | |
| CG45R1-13 | 45*138/125*38/31*40 | 150.1 | 275.8 | MK4100-02 |
| CG45R1-14 | 45*105/91*34/25*30 | 85 | 104 | |
| CG45R1-15A | 45*130/114,5*44,5/35*24,5 | 85 | 150 | |
| CG45R1-16 | 45*110/100*45/38*45 | 110 | 163 | |
| CG50R1-3 | 50*130/106*52/36*40 | 187 | 217 | |
| CG50R1-4 | 50*124/104*43/31*30 | 76.5 | 113.7 | |
| CG50R1-5 | 50*124/104*46/35*27 | 76.5 | 113.7 | |
| CG50R1-9 | 50*128/110*42,5/34*44,5 | 187 | 217 | D32N8-80201, 35Z80D-07000 |
| CG50R1-10 | 50*124/104*43/31*30 | 76.5 | 113.7 | SC101243/30V |
| CG50R1-11 | 50*124/104*56/41*35 | 76.5 | 113.7 | SC101256/35V |
| CG50R1-12M1 | 50*115/100*40/33*42 | 123.8 | 201.7 | TR055 |
| CG50R1-13A | 50*124/104*60/45*35 | 76.5 | 113.7 | SC101260/35V |
| CG50R1-14 | 50*143/129*45/35*44 | 161.7 | 275.8 | |
| CG50R1-15M11 | 50*105/90*40/32,5*32 | 111.2 | 185.1 | |
| CG50R1-16M1 | 50*165/147*50/40,4*37 | 141 | 209 | |
| CG50R1-17 | 50*128/110*46,5/38*44,5 | 187 | 217 | D32P8-80201 |
| CG55R1-1 | 55*158/130*65/55*67 | 265.8 | 391.5 | |
| CG55R1-2A | 55*145/120*56/41*40 | 155 | 196 | SC11145A |
| CG55R1-4A | 55*146/130*47/37*40 | 155 | 196 | CWR311B |
| CG55R1-7M1 | 55*135/110*56/45*58 | 135 | 146 | |
| CG55R1-8 | 55*144/120*56/42*40 | 155 | 196 | CWR311A |
| CG55R1-10A | 55*144/122*56/43*40 | 155 | 196 | 722711, S5480-03000 |
| CG55R1-11 | 55*144/124*68/51*50 | 265.8 | 391.5 | |
| CG55R1-12 | 55*155135*42/34*27 | 117.5 | 137 | 782311 |
| CG55R1-13A | 55*156/140*57/42*44,7 | 160.8 | 208 | 782411H |
| CG70R1-1 | 70*176/160*68/49*53,4 | 250 | 365 | D00H8-40551*S |
| CG70R1-2A | 70*184/170*47/37*40 | 186.7 | 269.7 | CWR314A |
| CG75R1-1 | 75*216/200*80/68*68 | 480 | 690 | D50K0-50401 |
| CG75R1-3 | 75*216/200*91/72*68 | 480 | 690 | D21MJ-05021 |
| CG80R1-3 | 80*246/230*73/62*77 | 505 | 644 | |
| CG95R1-1 | 95*246/230*80/68*68 | 612 | 817 | |
| CG60R1-2 | 60*120/110*60,5/54,5*61,5 | 260 | 340 | |
| CG60R1-4 | 60*204/174*88/72*92 | 363 | 534 | |
| CG80R1-1 | 80*266/222*125/100*128 | 675 | 950 | |
| CG80R1-2M1 | 80*187/157*88/72*68 | 336.3 | 570.4 | |
| CG80R1-4 | 80*256/222*117/90*120 | 675 | 950 | |
| CG80R1-5 | 80*187/157*88/72*68 | 336.3 | 570.4 | |
| CC80R1-6 | 80*266/222*95/64*117 | 640 | 880 | |
| CG80R1-7 | 80*305/260*165/130*145 | 820 | 1160 | |
| CG100R1-1 | 100*218/184*106/88*85 | 387 | 693 | TR061 |
| CG100R1-2 | 100*346/302*155/130*160 | 736 | 980 | |
| CG100R1-3 | 100*305/254*135/105*150 | 1033 | 1721 | |
| CG100R1-4 | 100*280/240*96/69*100 | 540 | 960 | G250MK8-202000-000 |
| CG100R1-5 | 100*296/252*125/100*128 | 795 | 1178 | |
| CG100R1-6 | 100*280/230*96/69*100 | 540 | 960 | |
| CG110R1-1 | 110*256/212*120/98*95 | 410 | 780 | TR062 |
| CG110R1-2M1 | 110*256/212*120/98*95 | 528 | 985 | |

Neopěvovaný hrdina skladu: Hluboký ponor do technologie ložisek vysokozdvižný...
NABÍZET
Již více než pět desetiletí, od našeho založení v roce 1969, je Jiangsu Wanda...
NABÍZET
Od svého založení v roce 1969 je JiangsuWandaSpecialBearingCo., Ltd (bývalá R...
NABÍZET
Pochopení role bočních válečků vysokozdvižného vozíku Boční válečky vys...
NABÍZET
Pochopení válečkových řetězů kol Válečkové řetězy na kola jso...
NABÍZET